苹果新专利:有望在 MacBook 上为 iPhone 无线充电

9158APP 0

据外媒wccftech 报道,苹果申请了一项名为“电子设备之间感应充电”的新专利。该专利描述了如何对iPhone 和Apple Watch 进行无线充电。

据外媒wccftech 报道,苹果申请了一项名为“电子设备之间感应充电”的新专利。

该专利描述了如何对iPhone 和Apple Watch 进行无线充电。 MacBook 将在掌托上固定感应线圈,使用触控板两侧的区域作为无线充电板来传输电力。 苹果新专利:有望在 MacBook  上为 iPhone  无线充电插图1

该专利还显示,除了MacBook 的掌托外,感应线圈还可以固定在iPad 的背面,为iPhone 和Apple Watch 进行无线充电。 苹果新专利:有望在 MacBook  上为 iPhone  无线充电插图3

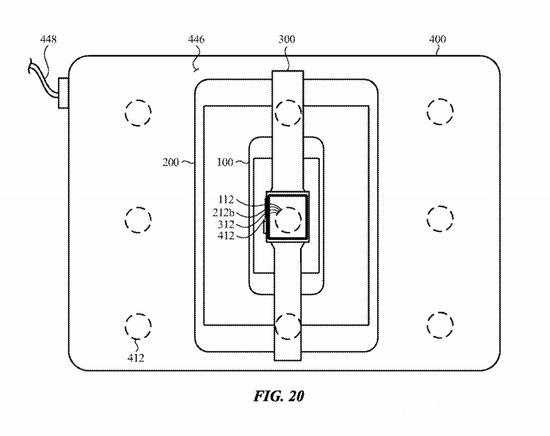
该专利展示了一种大型无线充电设备,可以为iPhone、iPad 和Apple Watch 进行无线充电。 苹果新专利:有望在 MacBook  上为 iPhone  无线充电插图5

专利描述如下:

一些电子设备包括一个或多个可充电电池,可能需要外部电源来充电。通常,这些设备可能使用通用或标准化充电器。例如,某些设备可能使用通用串行总线(“USB”)电缆充电。然而,尽管采用了标准化电缆,但每个设备可能都需要单独或专用的电源来充电。在一些情况下,为每个设备提供单独的电源可能会增加使用、存储和/或传输负担。

特别的