微信打印机后台设置操作方法教程

9158APP 0

这次微信的在线打印机功能可以说是一项黑科技。以后打印照片非常方便。您可以通过公众号操作完成打印。而且这次打印机功能也可以添加到自己的公众号微信。加上这个功能后,为什么不吸引粉丝呢?

1502346753260.png

微信如何设置打印机?

1、如何将公众号(包括服务号和订阅号)与微信机器绑定?

1502346753586.png

2、输入微信机器后台,点击公众号管理

1502346753998.png

3.点击添加公众号

1502346753277.png

4、登录微信公众平台:公众号平台登录:

1502346753736.png

5、进入公众号后,进入公众号设置:(点击右上角如图)

在微信机器平台上填写对应的公众号名称和原始ID

1502346753211.png

6、填写完后上传二维码图片,查看公众号是否有认证(无论是否认证都可以实现照片打印功能,但未认证的公众号无法制作声卡)

如何下载二维码:

1502346753116.png

7.点击公众号设置中的二维码-更多尺寸,

会弹出一个窗口,如下图所示

1502346753728.png

8.选择下载链接,建议扫描距离1m

下载后即可上传。

1502346754694.png

9.填写开发者应用:

点击公众平台开发者中心微信

1502346754490.png

1502346754524.png

1502346754235.png

10、访问方式设置:

1502346754753.png

11.选择您是否已连接第三方平台(连接第三方平台是指您之前连接过其他第三方平台,未连接过其他第三方平台)

1502346754948.png

12.(如果已连接第三方平台,则URL和Token已填写;如果未连接,则表示尚未打开第三方平台,未填写URL和Token )

1502346754678.png

13、在公众平台开发者中心点击修改配置微信,如上图

1502346754439.png

14.如果未连接第三方平台,

只需将微信移动平台的URL和Token复制到公众平台开发者中心微信即可,如上图所示。

1502346754276.png

15.如果已接入第三方平台,

然后我们需要将我们的URL复制到微信公共平台开发者中心,并保留原始Token。

1502346754649.png

1502346754997.png

(如上图,保留之前的原始Token,复制URL微信机器平台。)

然后在微信机器后台填写对方的微信公众平台开发者中心的原始URL

填写微信机器Token(微信)

如下所示:

1502346754146.png

2.如何上传视频?

进入后台-机器管理-我的机器,查看某台机器,点击视频配置,或者直接点击某台机器后面的视频图标。

1502346754904.png

1502346755943.png

3.如何上传广告图片?

选择一台机器,点击图片配置,或者某台机器后面的图片图标。

1502346755478.png

1502346755168.png

点击上传图片。上传完成后,再次点击上传,如下图:

1502346755671.png

4.如何设置充电模式?

选择某台机器,点击基本参数配置,或点击某台机器后面的设置按钮。

1502346755653.png

1502346755978.png

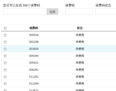
5、消费码是如何生成的?

选择一组特定机器,然后单击“生成消费代码”。

1502346755905.png

1502346755363.png

输入数值即可生成对应的消费码。

消费码生成后,返回--machine基本配置

1502346755890.png

6.如何更改微信机器模板?

在机器的基本配置中:

1502346755798.png

7、如何上传主公众号和子公众号?

在公众号设置中添加更多公众号

1502346755524.png

在我的机器中选择一台机器,点击公众号访问,或者机器后面的微信图标

然后就会看到如下图所示,最后勾选一个公众号进行绑定即可。可以绑定一个或多个公众号。

1502346755476.png

1502346755796.png