Apple会发布可折叠的iPhone手机吗?

9158APP 0

苹果会推出可折叠iPhone吗?或者我们应该说苹果推出可折叠iPhone的可能性有多大?

Apple会发布可折叠的iPhone手机吗?

- 尽管有Fold 和Mate X,但该技术尚未准备好

我们都知道,Fold 和Mate X 都不会成为大规模商业普及的手机。这种可能性对于他们来说是不存在的。这些是近乎实验性的零代可折叠智能手机,可以为可折叠手机的最佳布局铺平道路。从我们在MWC上看到的生产情况来看,这些手机目前很可能存在生产问题,良率问题严重,更不用说我们在三星和华为注意到的其他设计问题,例如屏幕不均匀。

至此,苹果不急于推出可折叠手机的原因就很明显了。对于苹果来说,这项技术还太年轻、不成熟,无法制造出合适的消费产品。为此,需要解决许多问题,例如中间的显示屏凸起、面板的耐用性、长期可靠性、设计的优雅性等。Fold 和Mate X 都令人印象深刻,但看起来像原型机技术。苹果无法在市场上发布这样的产品。

另一个问题是规模。当苹果推出可折叠iPhone 时,它需要能够批量生产这些仍处于起步阶段的手机。现在还不清楚这是否可能,但Galaxy Fold 和Mate X 的高价格表明它还没有量产。没有人会对一款需要很长时间才能到达的iPhone 感到满意,无论是折叠式iPhone。

- 苹果必须弄清楚如何处理iPad 业务

苹果还有自己的业务需要考虑。可折叠iPhone 不会蚕食iPad 的市场吗?突然之间,用户可能只需购买可折叠iPhone,而不是iPhone + iPad 组合。我们一直在谈论平板电脑销量的整体下滑,但苹果的iPad 销量仍然相当可观。苹果每季度销售的iPad 数量与三星每季度销售的Galaxy S 手机数量大致相当,因此实际上销量并不小(约1000 万台)。

Apple会发布可折叠的iPhone手机吗?

iPad 就像一部展开的手机,但更好,而且苹果通常不喜欢剥夺核心体验的产品。如果是手机,就需要又薄又轻。如果是平板电脑,则需要大屏幕和更多电量。现在的可折叠iPhone肯定会非常厚重。三星和华为的可折叠产品重约300克。你想在口袋里装那么重的东西吗?这不仅是对良好智能手机体验的妥协,而且也不是真正的平板电脑体验,因为屏幕仍然不会太大,而且至少在最初阶段还不确定许多iPad 功能是否可用,例如Apple Pencil支持,更快/更热的处理器,更强大的扬声器等。

- 苹果不喜欢移动部件

硬盘驱动器被SSD 取代,滑盖和翻盖被固态直板取代,键盘和QWERTY 键盘被触摸屏取代,等等。去年出现了一些无边框滑盖手机,但它们出现的时间并不长。简单面板的可靠性和用户体验的相关性都非常好,不容错过。

那么苹果制造可折叠iPhone 的想法又如何呢?这并不是说这是不可能的,但在技术成熟到足以让苹果尝试之前,肯定需要一段时间。这些铰链需要非常坚固且可靠,可弯曲显示器也是如此。谁知道这些组件需要多长时间才能实现和成熟才能满足实际消费产品的要求。尽管如此,个人计算的下一个重大步骤可能是AR,从表面上看,这将需要相当长的时间,所以也许有一个很好的窗口,让我们看到可折叠手机真正成熟。片刻。如果真是这样,苹果可能想参与其中。

- 对于苹果来说,现在是好时机,苹果并不急于打造可折叠iPhone

iPhone 今年(以及明年)的表现相当不错,因为苹果开始在高端竞争中节节败退(Galaxy S9 的销量令人失望,而且没有理由相信S10 系列会做得更好)。由于三星移动部门的业绩不尽如人意,因此看到这家韩国公司决定更多地关注其可折叠产品以期取得成果也就不足为奇了。这将使苹果在1000 美元的价格范围内有更多的回旋余地(在当前市场条件允许的情况下)。

在这种情况下,苹果急于发布可折叠iPhone是完全没有意义的。他们宁愿利用这个时机,至少一年,但甚至可能两年,具体取决于可折叠技术成熟的速度,然后以精美的产品进入新的细分市场,并及时利用市场的兴趣在可折叠技术中。人们对可折叠手机的认识和兴趣激增。

+ 可折叠iPhone 将成为苹果提高价格的一个很好的借口

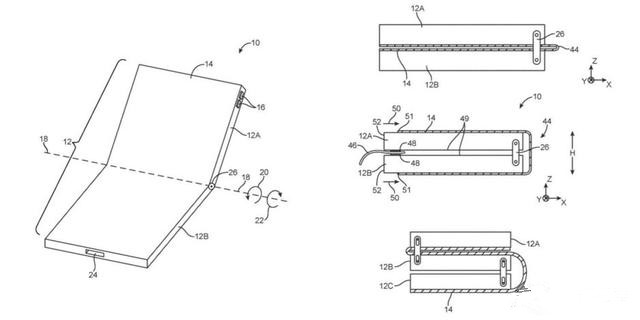
正如这些专利示意图所示,苹果公司的某人至少正在考虑制造一款可折叠手机的想法。

Apple会发布可折叠的iPhone手机吗?

这就是为什么,尽管存在上述几点,苹果可能仍在寻求设计自己的可折叠手机。随着iPhone 的推出

价格在1,500 美元左右的可折叠iPhone 符合这一策略,让苹果能够在目前的价格基础上再增加一个价位。然而,这也是为什么现在绝对不是可折叠iPhone 的时机的另一个原因,零部件的价格必须下降,这样苹果才能生产出商业上可行的产品,这将需要远低于三星和华为计划的2000 美元的价格折叠费用。

现在判断是否会推出可折叠iPhone 还为时过早。我们知道苹果有一些专利涵盖了相关技术,但同样,所有公司都拥有所有专利,因此这些专利绝不是真正产品即将问世的证据。根据第一款可折叠手机的表现(毕竟我们还没有看到可折叠手机上市),苹果可能会在未来某个时候发布可折叠iPhone,但肯定不是现在。前进多远?也许一年,也许两年:但三年可能为时已晚,但至少目前,我们没有看到手机巨头对这项新兴技术视而不见。

虽然我们当然不能确定苹果目前在实验室正在做什么,但苹果目前不想发布可折叠iPhone 的原因有很多。它可能希望在不久的将来这样做,但至少现在,库比蒂诺似乎处于有利位置,不需要立即解决这个新细分市场。