如何在不同设备之间同步 Apple Music 资料库? 订阅Apple Music 后打开“同步资料库”,以便您可以在不同设备上访问您的音乐资料库,以及从任一设备上的Apple Music 下载的音 9158APP 2024-02-03 75
iPhone手机wifi频繁断开,无法上网怎么办? 问题描述:iOS 11系统的iPhone SE手机之前使用正常。最近突然无法连接wifi。总是连接失败,经常断线,即使连接也无法上网。网络应该 9158APP 2024-02-03 62
iPhone12传闻汇总 对了,你想要的iPhone 12 即将上市!外媒9to5mac爆料:iPhone 12将于9月发布,磨砂背壳+经典中框,而且价格很合适!目前有传言称, 9158APP 2024-02-03 96
iPhone 11 出现“无法验证此 iPhone 屏幕是正品”会有什么影响? 苹果在iPhone 11系列机型中加入了验证机制,方便用户判断自己使用的设备是否为原装屏幕,并建议用户不要自行或通过非官方授权渠道更换屏 9158APP 2024-02-03 59
iPhone11不显示运营商了?iPhone11运营商设置方法 问题描述:小白最近购买了iPhone 11,发现iPhone 11桌面上隐藏了运营商名称。为什么iPhone 11 上没有显示运营商? iPhone 11 9158APP 2024-02-03 27
AirPods 单侧无声音是什么原因? 尽管AirPods 提供了出色的无线耳机体验,但它们在使用时也可能会引起问题。如果您遇到一只耳机没有声音的问题,可以参考以下方法解决: 9158APP 2024-02-03 33
iOS14怎么开启画中画?iOS14画中画使用方法 iOS14中画中画功能在哪里设置?升级到iOS14后,将会有画中画功能。很多人不知道iOS14如何使用画中画。为了帮助苹果用户快速熟悉画中画功能 9158APP 2024-02-03 37
iOS14耗电吗?iOS14续航怎么样? 苹果在WWDC大会上发布了iOS14系统。现在iOS14系统已经推送了第二个公测版升级更新,iOS14系统第一个公测版也已经推送了升级更新。您使用过 9158APP 2024-02-03 2
iPhone 手电筒图标变灰无法使用是什么原因? 如果您长时间使用闪光灯录制视频,或者在非常温暖的环境中使用设备,您可能会看到提示闪光灯被禁用的消息,iPhone 手电筒功能也会被禁用 9158APP 2024-02-03 78
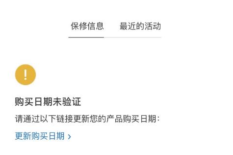
iPhone 等苹果产品查询保修显示“购买日期未验证”是什么情况? 购买iPhone等苹果产品后,大多数用户都会去苹果官网查看保修日期。不过,也有朋友在查询时遇到提示“购买日期未验证”。这是指iPhone 或 9158APP 2024-02-03 66
如何清洁 iPhone 的官方保护壳?智能电池壳如何清洁护理? iPhone 手机壳- 硅胶要清洁iPhone 硅胶手机壳,请将iPhone 从手机壳中取出。使用微湿的无绒软布擦拭iPhone 保护壳的内部和外 9158APP 2024-02-03 37
限时免费开卡指南:江苏交通一卡通·苏州现已支持 Apple Pay 即日起,Apple Pay 正式支持江苏交通卡和苏州互联互通卡。用户可以使用Apple Pay快捷交通方式便捷出行、乘坐公共交通工具。自2020 9158APP 2024-02-03 34
新发现: tfp0 漏洞或可用于 iOS 13.6 越狱 iOS 13 6可以越狱吗?虽然iOS系统日益完善的功能让苹果粉丝对越狱的兴趣大大降低,但享受越狱乐趣的用户依然不少。早先的iOS 13 5越 9158APP 2024-02-03 13
iPhone “嘿Siri”功能无法成功录入,提示“没听清楚”怎么办? 部分用户在使用iPhone时遇到了“Hey Siri”无法成功输入,只能通过按键唤醒Siri的情况。提示是“Siri 听不清楚,请重试。”如果您遇 9158APP 2024-02-03 14
iOS14隐藏小功能汇总 iOS14发布已经近一个月了,喜欢尝试的朋友也更新到了iOS14的开发者预览版。升级之后,你是否已经完全了解iOS14的功能了呢?尤其是一些很难 9158APP 2024-02-03 79
iOS 14 新增 4 大隐私保护功能 iOS 14现已进入第二个测试版。从更新内容来看,iOS 14并没有增加太多新功能,但优化了更多细节。不过,苹果并没有忽视安全更新,并不 9158APP 2024-02-03 63
iPhone数字车钥匙使用方法教程 升级到iOS 13 6正式版后,你的iPhone就可以变成车钥匙了,但并不是所有iPhone都有这个功能。我们来看看哪些车型支持数字车钥匙功能?如 9158APP 2024-02-03 31
如何使用“Apple 支持”应用预约 iPhone 维修服务? 苹果此前更新了官方应用“Apple Support”,设计了全新的界面和功能,让用户能够快速了解设备的保修状态、找到常见问题的解决方案、更方 9158APP 2024-02-03 61
iPhone12电池容量是多少?iPhone12电池容量缩水了吗? 下半年即将亮相的新款iPhone 12年度旗舰,依然会提供iPhone 12、iPhone 12 Max和iPhone 12 Pro、iPhone 12 Pro Max两 9158APP 2024-02-03 61
LTPO手机屏幕是什么?iPhone13会上用LTPO屏幕吗? LTPO是一种节能背板技术,可以使设备更加节能。三星此前于2019 年推出了LTPO TFT 1 2 英寸和1 4 英寸OLED Galaxy Watch 9158APP 2024-02-03 88