iPhone的防水性能有增强吗?-有什么变化?

9158APP 0

iPhone的防水性能有增强吗?

5 月18 日,Apple Insider 报道称,新披露的研究显示,苹果正在研究如何让iPhone 传感器保持准确工作,同时防止高水压或低气压。

通常,当苹果获得有关压力的专利时,它是关于通过触摸控制设备的。但iPhone 也经常受到环境压力的影响,尤其是在飞机或水下运输和使用时。

苹果公司的“集成压力传感器的电子设备”是一项新授予的专利,涉及防止外部压力或压力变化损坏iPhone 或影响其传感器的准确性。

该专利称:“人们在上班的路上会随身携带这些设备,为他们提供公交车路线、交通更新、当天比赛得分等信息。” “随着用户越来越依赖这些设备,这些设备的设计变得更强。”

“例如,塑料部件可能会被金属部件取代,或者玻璃部件可能更厚并由钢化玻璃制成,”它继续说道。 “这些设备还设计用于更广泛的环境。”

苹果列出了可能导致设备出现问题的示例环境,例如“当设备在温度远低于冰点的地方进行登山或滑雪/徒步旅行时”。或“设备通常可以被带入水中。”

苹果专利称:“出于这个原因,这些设备通常被设计成具有一定程度的防水性,因为水会导致设备内的电子元件发生故障。”

防止水损坏设备的一种方法是移除水可能进入的端口。这也是苹果在2016 年从iPhone 7 上取消3.5 毫米耳机插孔的原因之一。

这大概就是为什么其他制造商在最初批评苹果取消3.5 毫米插孔后,也从他们的手机上取消了耳机插孔。

然而,有一个问题不仅会让3.5 毫米有线耳机用户失望。相反,它是关于移除端口或密封设备的连锁反应。

苹果继续说道:“然而,密封设备以便设备可以浸入水中可能会产生意想不到的后果,至少在某种程度上影响设备中某些传感器的运行。”

最值得注意的是,“密封设备可能会导致工作温度升高,因为组件封闭在密封环境中。”

因此,设备可能会遭受热损坏,而不是水损坏。如果过热时间过长,iPhone 就会自行关机。

密封iPhone 会带来更多问题。

“再举个例子,”一位苹果公司表示,“温度传感器或压力传感器等传感器可能不太准确,因为它们被密封在设备内,不与外部环境直接接触。”

苹果继续说道:“因此,需要一种改进的方法,将各种传感器集成到便携式电子设备中。”

接下来是大约7,000 字的专利描述,详细说明了如何实现中心思想的多个细微差别。这个想法确实包括进水和出水的选项,但主要焦点是为iPhone 或任何电子设备创造一种成为压力传感器的方法。

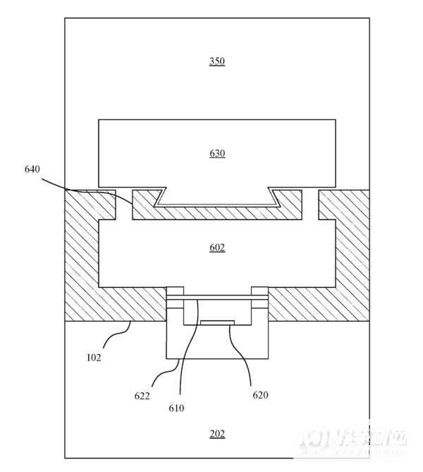
苹果公司表示:“腔体被密封,以在腔体内产生一定量的空气,这些空气通过与外壳的第一个开口流体连接的气压通风口排出到外部环境。” “传感器测量隔离室内第二体积空气的特性,该第二体积空气通过外壳中的第二个开口排出到外部环境。”

专利申请

苹果的专利没有详细说明检测到高电压时它能做什么。这超出了该专利的范围,该专利想要确定如何使用这样的压力室,特别是因为苹果不相信该组件可以完全封闭和密封。

“当密封容器中的气体与密封容器周围的气体之间出现压差时,[密封]容器中的气体可能会导致结构故障,”该专利继续说道。 “例如,当气体温度升高时,密封容器内气体的压力就会升高。”

“当运行部件产生热量时,气体需要能够将压力释放到外部环境,”它说。

同样,由于海拔变化而导致的压力下降也会造成损坏。 “腔体中的气体与外部环境中的气体之间的正压差会迫使显示组件远离外壳,导致粘合剂产生的密封失效。”

“破坏密封会使水进入空腔202,”它继续说道。 “解决这个问题的一个解决方案是在腔体和外部环境之间的外壳端口中包含一个气压通风口。”

防止屏幕被迫离开设备并防止热量产生压力的方法是平衡这些内部和外部压力。

该专利仅涉及平衡压力的方法。设备的功能也有限制,例如产生内部压力以匹配外部世界。

尽管如此,能够检测压力的变化,并至少能够采取一些措施来缓解问题,意味着iPhone 可以增加其深度和高度容差。

新授予的专利有10位发明人。其中包括埃里克N尼兰(Eric N. Nyland),他之前的工作包括Apple Watch 和iPhone 中的排水专利。