iPhone 13日落金好看吗?-日落金颜色如何?

9158APP 0

一、日落金好看吗?

知名推特博主Apple_Tomorrow发推称,今年的iPhone 13系列除了传统的黑白之外还将包括日落金和玫瑰金,并且相机模组预计会更大更厚。从效果图来看,日落金确实有日落的感觉。

iPhone13日落金好看吗-日落金颜色如何

二、更多信息

此前网上曝光了iPhone 13系列的外观渲染图。从曝光中可以看到,共有7种颜色:黑、白、红、珊瑚、绿、蓝、玫瑰金。

效果图中,13系列和12系列的外观没有太大区别,只是刘海面积缩小了。根据曝光的消息,距离发售日期越近越准确,这7种颜色可能大概率不会上架。

iPhone13日落金好看吗-日落金颜色如何

苹果似乎一直坚持纯色搭配。即使在Android渐变色特别流行的那一年,iPhone仍然是纯色。如今,大多数安卓手机都有在阳光下变色的设计,但苹果仍然不忘初心。

iPhone13日落金好看吗-日落金颜色如何

今年的iPhone 13系列在外观上与以往机型最大的不同就是,这次采用了小刘海设计。苹果不仅重新设计了Face ID系统,还将耳机设计为“隐藏式”。到屏幕顶部,以便Face ID 进一步缩小。

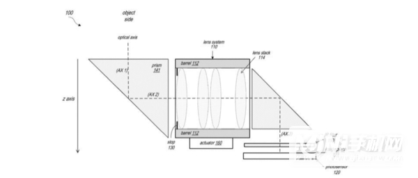
苹果披露的专利中,潜望式长焦方案是双棱镜,但光路在一个轴上,这与华为的10X方案不太一样。这样做的目的应该是保留iPhone现有的厚度,这样当下一代iPhone配备潜望式长焦镜头时,机身就不会太厚了……

iPhone13日落金好看吗-日落金颜色如何

另外,在外观方面,除了摄像头模组尺寸稍大一些外,与现在的iPhone 12系列几乎相同。