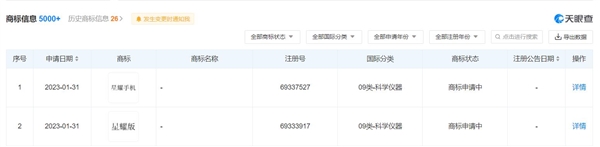
2月8日消息,天眼查显示,近日华为技术有限公司申请注册“星耀手机”“星耀版”商标,国际分类为科学仪器,当前商标状态为申请中。不久前,华为还申请注册“星耀环”“华为星耀”等商标,目前状态均为申请中。
“星耀”一词曾多次出现在华为手机发布会上,比如去年的nova 10 SE,该机背部是经典的星耀双环设计,还使用了星耀工艺,不粘指纹还能防磨花。


这次华为申请“星耀商标”,可能是出于品牌保护。一家企业要想受到法律的保护,第一步就是要遵循“商标先行注册”的原则,品牌设计完成之后应当尽早申请注册,否则可能存在侵犯他人商标的风险。
当前,华为手机产品线覆盖了千元以及中高端全价位段,Mate和P系列是旗舰,nova是中高端,畅想负责千元市场,Pocket系列是折叠屏,再推出星耀手机的可能性不大。
文章来源:
快科技
版权声明:本文内容由互联网用户自发贡献,该文观点仅代表作者本人。本站仅提供信息存储空间服务,不拥有所有权,不承担相关法律责任。如发现本站有涉嫌抄袭侵权/违法违规的内容, 请联系我们,一经查实,本站将立刻删除;如已特别标注为本站原创文章的,转载时请以链接形式注明文章出处,谢谢!
还木有评论哦,快来抢沙发吧~